La pintura es uno de los aspectos visuales de un coche que más juego da. Es posible utilizar multitud de acabados, formatos bitono, tipos que cambian conforme incide en ellos el sol… pero lo que Porsche acaba de patentar se sale de lo normal: una pintura que puede aparecer o desaparecer en función de parámetros tan dispares como el modo de conducción o el estado de carga del automóvil.
La tecnología se ha registrado en la oficina de patentes de Alemania y, según se describe en los documentos oficiales, se basa en la aplicación de un recubrimiento especial sobre la carrocería que la propia marca define como “papel electrónico” o una capa paramagnética.
Más información
La clave de este material es que tiene la capacidad de cambiar de color cuando se le aplica una corriente eléctrica, lo que permite modificar el aspecto exterior del coche de forma dinámica. En realidad no es algo completamente nuevo, porque ya en el pasado BMW presentó algo similar, la E Ink, aunque en su caso aplicada a toda una carrocería completa.
El planteamiento es sencillo: al aplicar este tipo de tinta, el usuario puede cambiar a voluntad el color de la misma. Esto, hasta ahora, se había explorado para aumentar las opciones de personalización de los vehículos, pero el enfoque de Porsche busca utilizarlo para poder dar información.
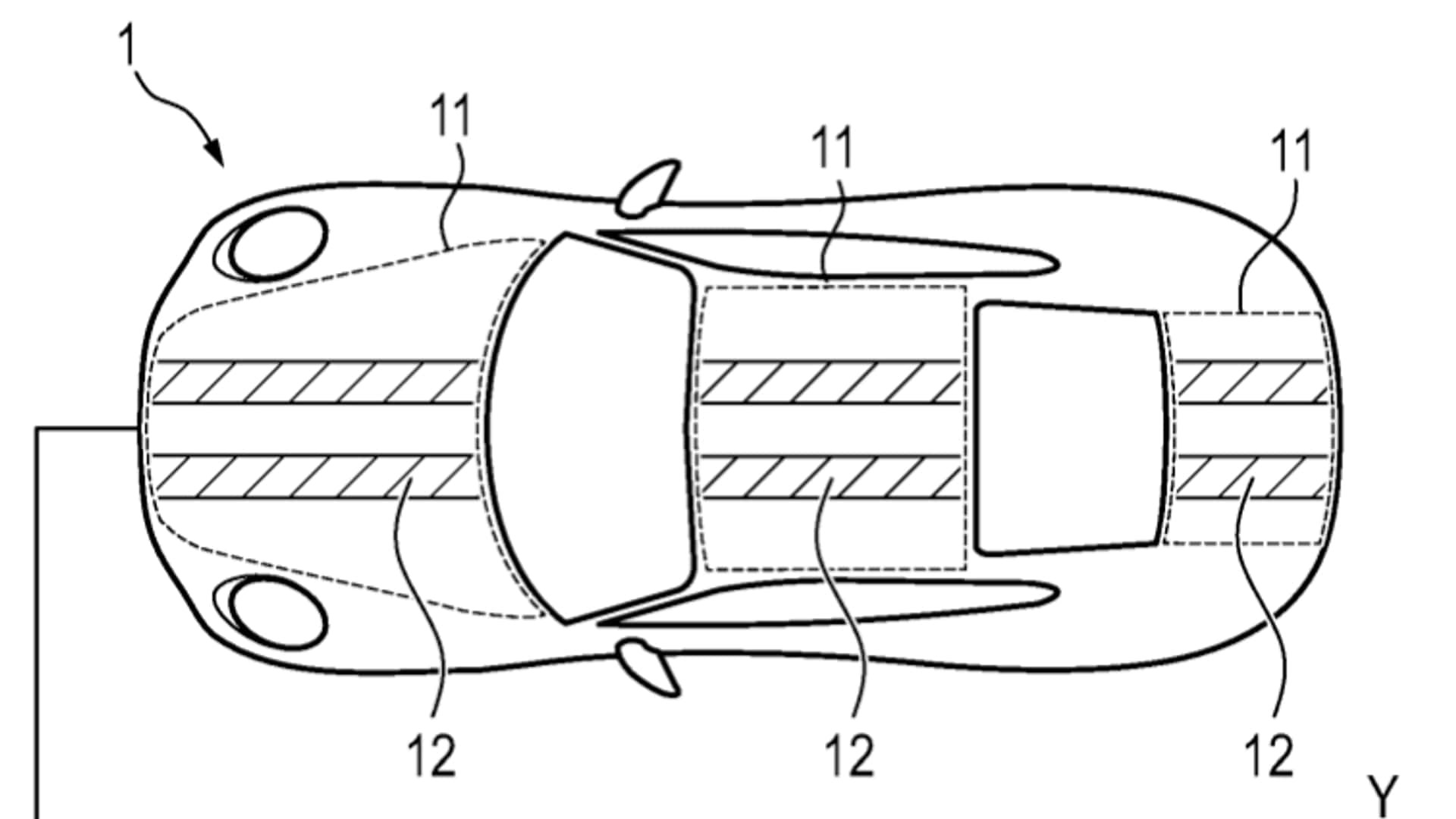
En la patente se puede ver como se aplicaría solo a las franjas que recorren la carrocería, que son propias de los coches deportivos, pero a efectos prácticos se podría utilizar sobre cualquier sección o incluso al completo.

En los documentos se observa que la tinta variaría su tono en función de parámetros diferentes. Un ejemplo que se ofrece es el de indicar el modo de conducción que se está utilizando. El sistema podría hacer que las líneas decorativas se muestren automáticamente al activar el modo Sport o Sport Plus, desapareciendo cuando el vehículo vuelve a un modo de conducción más eficiente o discreto. De esta manera, la función no solo añade un componente estético, sino que también convierte el diseño exterior en una forma de comunicación visual para el resto de usuarios de la carretera.
Porsche no baraja solo la posibilidad de que aparezcan o desaparezcan según el modo de conducción, también podría hacerse que cada uno de ellos estuviera asociado a un tono distinto, como el verde para modos eficientes, rojo para configuraciones deportivas, etc. Además, podría hacerse de manera automática o manual, siendo tan sencillo como pulsar un botón o activándolo desde el menú del sistema multimedia.
Comunicarse con los demás
Y las aplicaciones de esta tecnología van más allá del diseño. La marca también contempla su uso en vehículos eléctricos, en los que este tipo de “papel electrónico” podría emplearse para mostrar el estado de carga de la batería directamente en la carrocería, algo que otros fabricantes hacen mediante luces LED o pequeñas pantallas.
Así, en lugar de depender únicamente del cuadro de instrumentos o de una app móvil, el coche podría indicar visualmente su nivel de carga mediante cambios de color en estas superficies exteriores. Esto podría ser útil, por ejemplo, en un punto de recarga, porque mostraría a otros usuarios si falta mucho o no para que el vehículo complete el proceso.
Las posibilidades de un sistema así son enormes, más allá de dar información, sobre todo a nivel de personalización. Cualquier conductor podría cambiar partes o todo el color de su carrocería de manera muy sencilla y, en casos como el mundo de la competición, abriría la puerta a cambiar patrocinios según el equipo quiera en cada momento.
Ahora bien, como ocurre con muchas patentes, no hay garantía de que esta tecnología vaya a llegar a los modelos de producción a corto plazo. Que se haga realidad dependerá de factores como el coste, que con toda seguridad será mayor que el de una pintura normal, la durabilidad del material o su viabilidad de aplicación a gran escala.
Sigue toda la información de EL MOTOR desde Facebook, X o Instagram
El error más repetido al lavar el coche después de viajar que puede arruinar la carrocería
El detalle que puede estropear la imagen de un coche sin que te des cuenta y tiene fácil solución